Qingdao Ruichen Obsignans Technology Co, Ltd.
Qingdao Ruichen Obsignans Technology Co, Ltd.
Productus
X

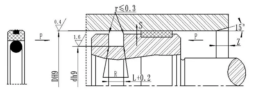
AQ, Type PTFE Compone Sigillum

Si vis in acquirendo Ruichen Sigilli AQ Typus PTFE Compositum Sigillum, offerimus optiones custodibiles materiales valde flexibiles: elastomeri ex variis fricatores, inter NBR et FKM, eligi possunt. Praeter vexillum PTFE3, annulos obsignantes varias etiam materias machinationis sustinent, inclusis PTFE1/PTFE2/PTFE4.

AQ Typus PTFE Sigillum Compositum late accommodatum est diversis instrumentis, temperaturae et condicionibus operandi, signanter emendans compatibilitatem et servitium vitae ratio signandi.


Lorem clifficulter

Pressura Mpa

Temperatus

Celeritas m/s*

Medium

≤40

-35~+100 (NBR)

≤2

Oleum hydraulicum, emulsio, aqua, gas, etc.

-20~+200 (FKM)


Materia Electio

1. Praesto materiae elastomer: R01 purgamentum nitrile (NBR), RO2 fluororubber (FKM), etc.

Ring 2 Material : Standard material : PTFE3; aliae materiae promptae: PTFE1, PTFE2, et PTFE4.

Exemplar AQ080080 x64.5x6.3(DxdxL) PTFE3-RO1 PTFE3 RO1-Material Code



Hot Tags: AQ, Type PTFE Compone Sigillum
Mitte Inquisitionem
Contactus info
Get competitive prices, technica firmamentum et ieiunium respondeo. Mitte specifications ad Ruichen pro tailored Signing Solutions. Free exempla available.
X
Crusulis utimur ut meliorem experientiam pasco tibi praebeamus, situm negotiationis et personalize contentus analyse. Hoc situ utendo, ad nostrum crustulorum usum consentis. Privacy Policy
Reject Accipe