Qingdao Ruichen Obsignans Technology Co, Ltd.
Qingdao Ruichen Obsignans Technology Co, Ltd.
Productus
X

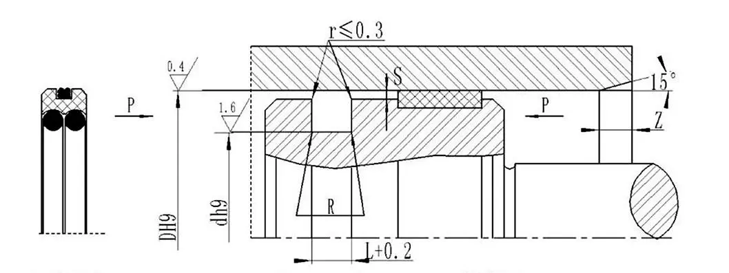
AQF Type PTFE Compositum Sigillum

Ut opificem Sinarum, Ruichen Sigilla facultatem explicandi et innovandi habet. AQF Typus PTFE Compositum Sigillum a Ruichen Sigilla immissum utitur compositione anulorum obsignatio PTFE humilis frictioni et elastomorum olei resistentium. Formam compactam et aptam validam habet et maxime idonea est ad systemata hydraulica in machinis cibi, instrumentis medicinae et ambitus mundis.

AQF Type PTFE Compositum Sigillum varias NBR/FKM elastomorum et PTFE1-PTFE4 signantium optiones praebet. Est anti-pollutio et corrosio-repugnans, et cssuram et molem Lupum sustinet.


Lorem clifficulter

Pressura Mpa

Temperatus

Celeritas m/s*

Medium

≤60

-35~+100 (NBR)

≤3

Oleum hydraulicum, emulsio, aqua, gas, etc.

-20~+200 (FKM)


Materia Electio

1. Praesto materiae elastomer: R01 purgamentum nitrile (NBR), RO2 fluororubber (FKM), etc.

Ring 2 Material : Standard material : PTFE3; aliae materiae promptae: PTFE1, PTFE2, et PTFE4.



Hot Tags: AQF Type PTFE Compositum Sigillum
Mitte Inquisitionem
Contactus info
Get competitive prices, technica firmamentum et ieiunium respondeo. Mitte specifications ad Ruichen pro tailored Signing Solutions. Free exempla available.
X
Crusulis utimur ut meliorem experientiam pasco tibi praebeamus, situm negotiationis et personalize contentus analyse. Hoc situ utendo, ad nostrum crustulorum usum consentis. Privacy Policy
Reject Accipe