Nostra princeps pressura gyratorius signacula opercula varietate summus perficientur products, inter RC2051, RC2052, RC2053, RC2054, RCS et RCX57, RC2054, RC2054, RC2057, quod sunt in reciproco et rc2057, quod sunt in reciprocating et gyratorium et in Hydraulicis, pneumatic et aquae pressura ambitus.
Et RC2051 series utitur compositum de repleti PTFE denthed sigillum annulos et o-annulos pro uno modo signantes. Hoc est humilis frictio et excelsum signantes characteres et dividitur in vexillum genus (RC2051-b) et summus celeritas type (RC2051, G).
Et RC2052 et RC2054 series instructa cum quadrato sigillum annulos cum oleum repono striatus, quae sunt idoneam ad Hydraulicarum gyratorium bidirectional signantes. Et structuram est pacto et sustinet aqua pressura environment.
Et RCX17 et RCX18 series fiunt ex summus perficientur Pu materiae, cum denthed crucis-section consilio facile installation. Sunt idoneam rotary hastile et gyratorius foraminis obsignationem et striatus consilio convertitur.
Et Rdi et RDA series sunt composito ex PTFE signa annulos, l informibus plastic Support Annulorum et O-annulos, quae sunt apta summus pressura, humilis, qui sunt idoneam ad altus-pressura, humilis, rotating bidirectional, humilis et longa, rotating, humilis frictioni et longa-pressura resistentia, humilis frictioni et longa-pressura resistentia, humilis frictioni et longa-pressura resistentia, humilis frictioni et longa, low frictioni et longa-pressura resistentia, humilis frictioni et longa, low frictioni et longa, low frictioni et longa-pressura, humilis frictioni et longa, low frictioni et longa, low frictioni et longa, low frictioni et longa, low frictioni et longa, low frictioni et longa, low vitae.
Et RCS Series PTFE potentia oleum sigillum continet metallum ossa et ptfe signantes labium, quae idoneam complexu operationem conditionibus.
Et RC2057 Series plena PTFE oleum sigillum est disposito specialis occasiones quod traditional oleum signacula non occurrit.
Et RC2065 series praebet unum-via pressura sigillum pro rotating sagittas, cum simplex structuram et securus installation. Et materiae potest esse Nitrile Flexilis (NBR) et fluororubber (FKM).
Ruichen sigillum s Sigillas habent in characteres summus vita, humilis friction, optimum signantes et pacto structuram. Sunt late in Hydrau systems, pneumatic apparatu, aqua pressura apparatu, summus pressura rotating machinery et industriae apparatu, etc., providing vos cum certa summus perficientur solutions.
Product Features et Applications:
Product Features:
Longitate, summus qualitas materiae et structural Design Extend Service vitae.
Minimum friction: PTFE et PU materiae reducere currit resistentia et amplio efficientiam.
Bonum obsignationem: Special Labium et oleum repono cisternina consilium ut optimum signantes perficientur.
Pacto structuram parva spatium consilio apta varietate installation ambitibus.
Late applicabiles: apta hydrau, pneumaticae, aqua pressura et princeps pressura, princeps celeritate, humilis celeritate et alias operationem conditionibus.
Application areas:
Hydrau ratio, pneumaticae apparatu, aqua pressura apparatu.
High-pressura rotating machinery, humilis-celeritate gravibus, onus apparatu.
Industrial apparatu, ipsum machinery, automobile et aerospace et aliis agris.
Material Electio:
I. De matching o-anulum materia potest esse electus: R01 Nitrile Flexilis (NBR) R02 Fluorubber (FKM), etc.
II. Annulum Signing Material: Latin Material Ptfe4, alia libitum materiae Ptfe1, Ptfe2, Ptfe3, Ptfe5.
RCX18 Material: HPU.
Structural Diagram

Ordinis Model RC2052-80X91X4.2-Ptfe3-Ro1 Model-DXDXL-Material Code Ordinis Model RCX17-80X91X4.2, HPU Model-Dxdxl-Material Code
Ordinis Model RC2054-80X69X4.2-Ptfe3-Ro1 Model-D * D * L-Material Code Ordinis Model RCX18-80X69X4.2, HPU Model-D * D * L-Material
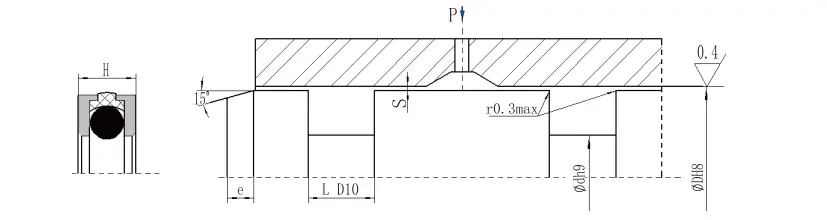
RDI institutionem dimensiones
| df8 | DH9 | L d10 | H | SPULSUS S | |
| 0-10MPA | 10-36MPA | ||||
| 50-79 | D + X | 5 | 4.5 | 0.4-0.3 | 0.3-0.25 |
| 80-109 | D + 13,8 | 7.5 | 7 | 0.45-0.35 | 0,35-0.3 |
| 110-299 | D + XX | 10 | 9.5 | 0.55-0.45 | 0.45-0.35 |
| 300-600 | D + XXIV | 13 | 12.5 | 0.6-0.55 | 0.55-0.45 |
| > DC | Placere consulere nostri comitatu | ||||
LONGE
| Range diameter range | Chamfer Longitudo E≥ |
| 50-56 | 6 |
| 57-100 | 7 |
| 101-290 | 10 |
| 291-600 | 15 |
Rda Installation dimensiones
| Dh8 | DH9 | L d10 | H | SPULSUS S | |
| 0-10MPA | 10-36MPA | ||||
| 50-124 | D-XVI | 8 | 7.5 | 0.45-0.35 | 0,35-0.3 |
| 125-199 | D-XX | 10 | 9.5 | 0.55-0.45 | 0.45-0.35 |
| 200-600 | D-XXVI | 13 | 12.5 | 0.6-0.55 | 0.55-0.45 |
LONGE
| Range diameter range | Chamfer Longitudo E≥ |
| 50-95 | 7 |
| 96-190 | 10 |
| 191-300 | 12 |
| 301-600 | 15 |
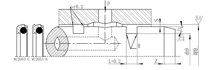
RCS Type PT Fe Power oleum Sigillum (PTFE oleum Sigillum)
RC2057 Type Full PT Fe olei sigillum
RCS Type Ptfe Pttfe Powile Sigillum sit composito ex metallum frame, ptfe signantes labium et internus Static sigillum. Est dividitur in genus, B type, c Type, D typus, etc. RC2057 type plena PTFE oleum sigillum dividitur in type et b type, praesertim idoneam in quo traditional oleum, praesertim idoneam in quo traditional oleum non conveniunt in requisitis. Features:
I. Chemical Corrosion resistentia
II. Wide temperatus range
III. Et oleum-liberum low low et oleum-lubricatae
IV. Humilis friction ad consequi minimum potentia consummatio
V. idoneam ad altus linea celeritate
VI. Non haerens, humilis resistentia ut satus-sursum post diu term shutdown
VII. Idoneam rotating sagittarum, quae non potuit (rationabile lectio PTFFe Labium)
VIII. Idoneam ad occasiones cum altior pressura
Ⅰ. Typical Applications:
Gyratorius compressors, stupra Compressors, Transmissus / Gearboxes, Blowers, engines, machina tool Pumps, Hydraulicarum Motors, Centrifuga, etc.
Ⅱ. Durness Requirements ad CUMENTUM superficiebus
Commendatur duritia: HRC ≥ LVIII. Quod requiritur duritia est ad plures res. Mollis rotating sagittas sunt etiam applicabiles in humilis-pressura et humilis-celeritate condiciones. Ptfe6 labrum laminis commendatae mollis metalla.
Ⅲ. Qualis requisita ad orbem superficiei
Rs = 0.2-0.63 A = 1-3um rmaax = 1-4um
| Cross-sectional figura | Exemplar | Pressura (MPa) | Temperamentum (℃) | Celeritate (M / s) | Medium |
|
RCS-a | 0.5 | -35 ~ + CC | 40 | Oleum, Gas, aqua etc. |
|
RCS, B | 2 | -35 ~ + CC | 20 | Oleum, Gas, aqua etc. |
|
RCS, C | 1 | -35 ~ + CC | 20 | Oleum, Gas, aqua etc. |
|
RCS, D | 2 | -35 ~ + CC | 20 | Oleum, Gas, aqua etc. |
|
RC2057-A | 0.5 | -35 ~ + CC | 30 | Fere omnium media |
|
RC2057-B | 2 | -35 ~ + CC | 20 | Fere omnium media |
Ⅳ. Fluunt potestatem spiralis fluxus exemplar;
RCS-D genus adoptat a labrum laminam cum spiralis fluxus exemplar structuram ad amplio signing facultatem. Rotating hastile non licet rotate in unam partem.
Rc20658 Installation dimensiones
| Exemplar | df8 | DH9 | L d10 | Smaax |
| Rc2065a | 400-3000 | d 16,8 + | 15.1 | 1.2 |
| Rc2065 | 400-3000 | D + 17,5 | ||
| > MMM | Placere consulere nostri comitatu | |||
LONGE
| Range diameter range | Chamfer Longitudo E≥ |
| 400-1000 | 15 |
| 1001-2000 | 20 |
| 2001-3000 | 25 |
Specifications et dimensiones:
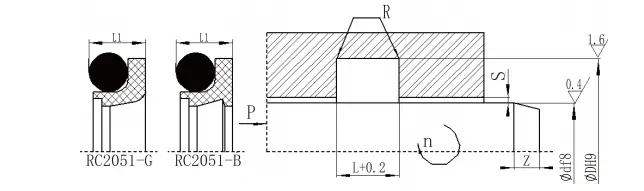
| d F8 Vexillum Rc2051 | d F8 Lond Lond RC2051, Q | d F8 Gravibus onus RC2051-Z | D H9 | L+0.2 | L1 | Rmax | Smax | Zmin | d0 | ||
| <10MPA | <20MPA | <40MPA | |||||||||
| - | V ~ 15,9 | - | D + 4.5 | III. I | 2.8 | 0.3 | 0.3 | 0.2 | 0. XV | 3 | 1.8 |
| V ~ 15,9 | XVI ~ 38.9 | - | D + 6.3 | 4.0 | 3.7 | 0.4 | 0.4 | 0.25 | 0. XV | 4 | 2.65 |
| XVI ~ 38.9 | XXXIX ~ 107.9 | V ~ 15,9 | D + 8,2 | 5.2 | 4.7 | 0.4 | 0.4 | 0.25 | 0.2 | 5 | 3.55 |
| XXXIX ~ 107.9 | CVIII ~ 670,9 | XVI ~ 38.9 | D + 11,7 | 7.6 | VII. I | 0.5 | 0.5 | 0.3 | 0.2 | 7 | 5.30 |
| CVIII ~ 670,9 | DCLXXI ~ CMXCIX | XXXIX ~ 107.9 | D + 15,5 | 9.6 | 8.9 | 0.6 | 0.6 | 0.35 | 0.25 | 10 | 7.00 |
| DCLXXI ~ CMXCIX | M ~ MDXCIX | CVIII ~ 670,9 | D + 19.4 | XII. I | 11.3 | 0.7 | 0.7 | 0.5 | 0.3 | 12 | 8.60 |
| M ~ MDXCIX | ≥1600 | DCLXXI ~ CMXCIX | D II | 14.8 | 13.5 | 0.8 | 0.8 | 0.6 | 0.4 | 15 | 10.0 |
| ≥1600 | - | M ~ MDXCIX | D + XXVI | 17.8 | 16.3 | 1.0 | 1.0 | 0.7 | 0.6 | 20 | 12.0 |
Nota: I. Nam Shaft Diameter ≤30mm, commendatur ut aperta sulcus. Lux onus genus est facillimus ut install in clausa sulcus.
II. Suadetur quod superficies duritiam rotating hastile est HRC> LVIII.
Rc2053
| Range range D H9 | Sulcus diameter D H9 | Sulcus width L + 0,2 | Altitudo sigillum L1 | Rotunda Rmax | S | Chamfer Zmin | O-Orbis filum diameter D0 | ||
| <10MPA | <20MPA | <40MPA | |||||||
| VIII ~ XII | D-4.5 | 3.1 | 2.8 | 0.3 | 0.3 | 0.2 | 0.15 | 3 | 1.8 |
| XIII ~ XXIV | D 6,3 | 4 | 3.7 | 0.4 | 0.4 | 0.25 | 0.15 | 4 | 2.65 |
| XXV ~ LI | D-8,2 | 5.2 | 4.7 | 0.4 | 0.4 | 0.25 | 0.2 | 5 | 3.55 |
| LII ~ CXXVII | D-11.7 | 7.6 | 7.1 | 0.5 | 0.5 | 0.3 | 0.2 | 7 | 5.30 |
| CXXVIII ~ D | D-15,5 | 9.6 | 8.9 | 0.6 | 0.6 | 0.35 | 0.25 | 10 | 7.00 |
| DI ~ MDC | D-19.4 | 12.1 | 11.3 | 0.7 | 0.7 | 0.5 | 0.3 | 12 | 8.6 |
Note: I. Nam Shaft Diameter ≤ XXX mm, aperta sulcus commendatur.
Rc2052
| Palus diameter range d F8 | Sulcus diameter D H9 | Sulcus width L+0.2 | Smax | Rotunda Rmax | Chamfer Zmin | |
| 0 ~ 10MPA | X ~ 20MPA | |||||
| VI ~ XVIII | D + 4.9 | 2.2 | 0.15 | 0.1 | 0.4 | 2 |
| XIX ~ XXXVII | D + 7.5 | 3.2 | 0.2 | 0.15 | 0.6 | 3 |
| XXXVIII ~ CXCIX | D + 11.0 | 4.2 | 0.25 | 0.2 | 1.0 | 4 |
| CC ~ CCLV | D + 15,5 | 6.3 | 0.3 | 0.25 | 1.3 | 5 |
| CCLVI ~ DCXLIX | D + 21.0 | 8.1 | 0.3 | 0.25 | 1.8 | 7 |
| DCL ~ MD | d 28.0 + | 9.5 | 0.45 | 0.3 | 2.0 | 8 |
Note: I. Nam Shaft Diameter ≤ XXX mm, aperta sulcus commendatur.
II. Nam pressuris> XXX MPa, sigillum radix area utitur H8 / F8 tolerantia.
Rc2054| Range range D H9 | Sulcus diameter D H9 | Sulcus width L+0.2 | Smax | Rotunda Rmax | Chamfer Zmin | |
| 0 ~ 10MPA | X ~ 20MPA | |||||
| VIII ~ XXXIX | D-4,9 | 2.2 | 0.15 | 0.1 | 0.4 | 2 |
| XL ~ LXXIX | D 7.5 | 3.2 | 0.2 | 0.15 | 0.6 | 3 |
| LXXX * CXXXII | D-11.0 | 4.2 | 0.25 | 0.2 | 1.0 | 4 |
| CXXXIII ~ CCCXXIX | D-15,5 | 6.3 | 0.3 | 0.25 | 1.3 | 5 |
| CCCXXX ~ DCLXIX | D-21.0 | 8.1 | 0.3 | 0.25 | 1.8 | 7 |
| DCLXX * MD | D-28.0 | 9.5 | 0.45 | 0.3 | 2.0 | 8 |
| Set | Exemplar | Pressura (MPa) | Temperamentum (℃) | Reference (M / s) |
Reference PV valorem MPA.M / S | MEDIUS |
|
RC2051-B | ≤70 (Latin) | -35 ~ + C (matching o-circulum NBR) | | ≤5 |
Hydraulica oleum EMULSIO aqua Gas etc.
Hydraulica oleum EMULSIO aqua Gas etc. |
|
| ≤30 (Casio) | -20 ~ CC (matching o-anulum fkm) | |||||
|
RC051-G | ≤70 (Latin) | -35 ~ + C (matching o-circulum NBR) | | ≤5 |
Hydraulica oleum EMULSIO aqua Gas etc.
Hydraulica oleum EMULSIO aqua Gas etc. |
|
| ≤30 (Casio) | -20 ~ CC (matching o-anulum fkm) | |||||
|
RC2053, B | ≤70 (Latin) | -35 ~ + C (matching o-circulum NBR) | | ≤5 |
Hydraulica oleum EMULSIO aqua Gas etc.
Hydraulica oleum EMULSIO aqua Gas etc. |
|
| ≤30 (Casio) | -20 ~ CC (matching o-anulum fkm) | |||||
|
RC2053, G | ≤70 (Latin) | -35 ~ + C (matching o-circulum NBR) | | ≤5 |
Hydraulica oleum EMULSIO aqua Gas etc.
Hydraulica oleum EMULSIO aqua Gas etc. |
|
| ≤30 (Casio) | -20 ~ CC (matching o-anulum fkm) | |||||
|
Rc2052 | ≤40 | -35 ~ + C (matching o-circulum NBR) | ≤2 | ≤2.5 | Hydraulica oleum EMULSIO aqua Gas etc. Hydraulica oleum EMULSIO aqua Gas etc. |
| -20 ~ CC (matching o-anulum fkm) | ||||||
|
Rcx17 | ≤20 | -35 ~ + C | ≤0.5 | - | Hydraulica oleum EMULSIO aqua Gas etc. |
|
Rc2054 | ≤40 | -35 ~ + C (matching o-circulum NBR) | ≤2 | - | Hydraulica oleum EMULSIO aqua Gas etc. Hydraulica oleum EMULSIO aqua Gas etc. |
| -20 ~ CC (matching o-anulum fkm) | ||||||
|
Rcx18 | ≤20 | -35 ~ + C | ≤0.5 | - | Hydraulica oleum EMULSIO aqua Gas etc. |
|
Rdi | | -35 ~ + C |
<0,5 |
-
|
Hydraulica oleum EMULSIO aqua Gas etc. |
|
|
Rda | | -35 ~ + C |
<0,5 |
-
|
Hydraulica oleum EMULSIO aqua Gas etc. |
|
|
RCS-a | 0.5 | -35 ~ + CC | 40 | ≤6 | Oleum aqua Gas etc. |
|
RCS, B | 2 | -35 ~ + CC | 20 | ≤1 | Oleum aqua Gas etc. |
|
RCS, C | 1 | -35 ~ + CC | 20 | ≤6 | Oleum aqua Gas etc. |
|
RCS, D | 2 | -35 ~ + C | 20 | ≤6 | Oleum aqua Gas etc. |
|
RC2057-A | 0.5 | -35 ~ + CC | 30 | ≤6 | Fere omnium media |
|
RC2057-B | 2 | -35 ~ + CC | 20 | ≤6 | Fere omnium media |
|
Rc2065 | 1 | -35 ~ + CC | 6 | ≤1 | Hydraulica oleum, EMULSIO aqua, uncto, etc. |































































































Oratio
No.1 Ruichen via, Dongliuting Industrial Park, Chengyang Districtus, Qingdao urbs, Shandong Provincia, China
Tel