Qingdao Ruichen Obsignans Technology Co, Ltd.
Qingdao Ruichen Obsignans Technology Co, Ltd.
Productus
X

TC Sigilla Oleum

Scapus labii gyratorii sigilla, vulgo sigilla oleum, installantur in habitationem ferentem et movent respectu scapo rotationis. Ossa metallica subsidia praebet, et fons radialis preload applicat ad labium obsignandum ne lacus ducatus et contaminantium externarum intrusio.

Institutionem structura et Requirements

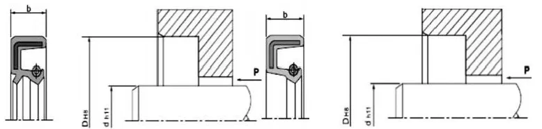
1. Shaft Material: Communiter adhibentur chalybs carbonis et chalybs immaculata. Ad celeritates summas applicatur lamina chrome superficiei, HRC40-45.

2. Designatio rotandi Shaft et striatus: Scapus superficies levis et lappa-libera esse debet. Machinationes spirae notae flare effectum creare possunt, ducens ad ultrices. Commendatur ut sigillum oleum area ascendens ad asperitatem Ra0.1-0.5µm superficiei sit condensa, cum velocitate magis lenior fit. Ad facilitatem institutionis et disassembly, scapi et striati designari debent cum chamfers vel marginibus rotundatis Vide figuras 1 et 2.

Altitudo signantes

b

b1(0.85xb)

mm

b2(b+0.3)

mm

r

max.

7

5.95

7.3

0.5

8

6.80

8.3

0.5

10

8.50

10.3

0.5

12

10.30

12.3

0.7

15

12.75

15.3

0.7

20

17.00

20.3

0.7

Instar 1. sulcus chamfer design


d

d3

R

<10

d-1.5

2

10~20

d-2.0

2

20~30

d-2.5

3

30~40

d-3.0

3

40~50

d-3.5

4

50~70

d-4.0

4

70~95

d-4.5

5

95~130

d-5.5

6

130~240

d-7.0

8

240~500

d-11.0

12

500~800

d-14.0

14

800~1250

d-18.0

16

Figure 2 Chamfer design of the rotating hastile


Factores afficientes gyratorium vecte labrum sigillis perficiendis 

Iusti sunt factores qui effectum signandi afficiunt. Praeter ipsum sigillum oleum, cuiusmodi sunt materia et structura, alia quasi media, temperatura, pressio, lubricatio, celeritas, asperitas superficies etiam effectum signandi directe afficiunt, et hae factores saepe inter se occurrunt. Sequentia chartæ tantum referentia ad user.

Figure 3. Effectus temperatus in oleum sigillum


Installatio: Diligens institutio requiritur ad debitam functionem sigillorum olei.

Institutionem tabula (cavum institutionem)

Rectam institutionem modum

Lorem clifficulter

Recta institutionem modum

Haec ratio tantum convenit, cum sigillum olei extremitatem faciei et cavitatis extremitas faciei rubor est. Cum instans instrumentum celeriter operatur, sigillum oleum recte collocari debet; aliter fieri potest misalignment.

 

Hoc consilium aptum est ad condiciones in quibus sigillum oleum extremum facies minor est quam cavitatis finis faciei. Etiam celeri pressione, sigillum oleum adhuc bene collocari potest. Sed hoc genus fixturae positione radiali caret, ergo perpendicularitas axialis laminae planae et pressionis impressae artificii scapus certa praecisione consequi debet.

Haec methodus est apta condicionibus in quibus sigillum oleum extremum facies minor est quam cavitatis finis faciei. Ubi in apparatu cito impressio est, crucial ut oleum sigillum recte ponatur; aliter fieri potest misalignment.


 

 


Haec methodus solum ad victum vel simplicem condiciones institutionis aptas est ubi pressionis apparatus inaccessibilis est. Quia pressio omnino aequabilis per institutionem perfici non potest, variae difficultates institutiones inevitabiles sunt. Praesertim destinatur ne misalignment radialis in institutione, quae sigillum oleum deformet, vel impedimentum iuvantis sigilli oleum (exterioris circuli) ob moram inter institutionem praepediat. Ergo haec institutionis ratio plerumque non commendatur.

 

TC/SC/TB/SB sigillis olei

Utrumque constat ex corpore metalli, fons et corpus globulus. Artus metalli fulcimentum praebet, et fons radialem vim labii obsignandi applicat. Ambae TC et TB exempla labrum auxiliarium habent pulverulentum, aptas applicationes ubi unum latus continet medium signandi et alterum latus pulvis continet. Exempla TB/SB circulum exteriorem metallicum habent, sigillum oleum munitius et accuratius intra cavitatem faciens. Attamen facultas signandi circuli exterioris limitatur ad viscositatem et gaseosa media humilis; ideoque commendatur ut in institutione et usu circuli exteriori sigillum applicet.

Crucem-sectional figura

Model

Applicationem

Pressura

Temperature

Celeritas

Medium

Materia

TC

Obsignare, dustproof

0.03MPa

-30~+160

20m/s

Lubricans oleum et adipe

NBR/FKM + Carbon Steel

SC

signare

TB

Obsignare, dustproof

-30~+100

25m/s

Aquam, oleum lubricatum, uncto

NBR + Carbon Steel

SB

signare

Ordinis exemplar TC-d*D*b

Specification

Specification

Specification

Specification

Specification

Specification

Specification

TC-6*17*3.5

TC-9*25*7

TC-10*30*7

TC-12*25*10

TC-13*25*7

TC-14* 32*8

TC-15*30*7

TC-7*18*7

TC-10*18*7

TC-11*22*7

TC-12*26*7

TC-13*26*7

TC-14* 32*10

TC-15*30*8

TC-8*18*7

TC-10*19*7

TC-I1*25*7

TC-12*28*7

TC-13*28*7

TC-14*35*7

TC-15*30*10

TC-8*20*7

TC-10*20*5

TC-11*30*10

TC-12*28*8

TC-13*30*8

TC-14*35*8

TC-15*32*7

TC-8*22*7

TC-10*20*7

TC-12*19*3

TC-12*30*7

TC-14*24*7

TC-14*40*7

TC-15*32*10

TC-8*22*8

TC-10*22*5

TC-12*20*7

TC-12*30*10

TC-14*25*7

TC-15*22*8

TC-15*35*7

TC-8*25*7

TC-10*22*7

TC-12*21*7

TC-12*32*7

TC-14*26*7

TC-15*24*7

TC-15*35*8

TC-8*25*8

TC-10*22*8

TC-12*22*5

TC-12*32*10

TC-14*27*7

TC-15*25*5

TC-15*35*10

TC-8*30*7

TC-10*22*10

TC-12*22.5*5.5

TC-12*35*7

TC-14*28*7

TC-15*25*7

TC-15*38*7

TC-9*16*5

TC-10*24*7

TC-12*22*7

TC-12*35*10

TC-14*28*8

TC-15*25*8

TC-15*38*8

TC-9*18*7

TC-10*25*5

TC-12*22*8

TC-12.7*22.22*5

TC-14*28*10

TC-15*26*7

TC-15*38*10

TC-9*19*7

TC-10*25*7

TC-12*24*6

TC-12.7* 25.4*7

TC-14*29*7

TC-15*27*7

TC-15*40*8

TC-9*20*7

TC-10*25*10

TC-12*24*7

TC-12.7*26*8

TC-14*30*7

TC-15*27*8

TC-15*40*10

TC-9*22*7

TC-10*26*7

TC-12*25*7

TC-12.7*30*8

TC-14*30*10

TC-15*28*7

TC-15*42*7

TC-9*24*7

TC-10*28*7

TC-12*25*8

TC-13*23*7

TC-14* 32*7

TC-15*28*10

TC-15*42*8

 




Hot Tags: TC Sigilla Oleum
Mitte Inquisitionem
Contactus info
Get competitive prices, technica firmamentum et ieiunium respondeo. Mitte specifications ad Ruichen pro tailored Signing Solutions. Free exempla available.
X
Crusulis utimur ut meliorem experientiam pasco tibi praebeamus, situm negotiationis et personalize contentus analyse. Hoc situ utendo, ad nostrum crustulorum usum consentis. Privacy Policy
Reject Accipe