Et retinendi anulus est in conjunction cum O-anulum vel stella anulum ne ad obsignes annulum ab esse expressi in gap in humilis-pressura latus sub actione pressura. Ut pressura continues ad augendam, ad annulum signing est laedi per "extrusionem" et eventually deficit ad sigillum. Si enim retinendi anulum adhibetur, in "extrusionem" ex signis anulum potest impediri. Ideo retinendi anulum est supplementum ad signing circulum. Non est ipsa sigillum, sed auget opus pressura range de signing circulum.
Et retinendi anulum est in conjunction cum O-anulum ut ne ex "extrusionem", efficaciter protegat O-anulum, auget suum muneris vita, et patitur maius obtinet, ita redigo processui costs.
Product Features et Applications:
Typus et formam et structure retinentes
Technical notitia
Opus pressura: Static sigillum can pervenire de 200mpae (fretus in materia et sigillum genus retinendi anulum), reciprocating sigillum potest pervenire de 40mpa. Adductius / tardus celeritas gyrationis potest pervenire circa 15mam.
Volo: reciproco et gyrationis potest pervenire de 2m / s (fretus in materia).
Ordine signa
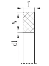
(I) T01 series retinendi annulos composita ex interiore diametrum d1, width w et crassitudine T.
Exemplum: T01-00356 D1: 3.56 * W: 1.35 * T: 1.23
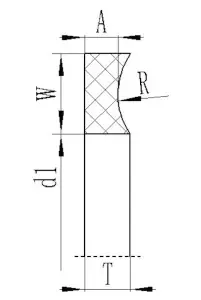
(II) T02 series retinendi annulos composita ex interiore diametrum d1, width w, et crassitudine et T.
Exemplum: T02-027 D1: 33.78 * W: 1.35 A * A: 1.14 * T: 1.24



Oratio
No.1 Ruichen via, Dongliuting Industrial Park, Chengyang Districtus, Qingdao urbs, Shandong Provincia, China
Tel