|
Pressura / MPa |
Temperature / °C |
Celeritas / m/s |
Medium |
|
≤40 |
-35~ + C (cum matching NBR O-annulos) |
≤2 |
Oleum hydraulicum, emulsio, aqua, gas, etc. |
-20 ~ CC (cum matching O-annulos FKM) |
1. Apta materias O-anulus complectitur: R01 Nitrile Butadiene Rubber (NBR), R02 Fluororubber (FKM) etc.
2. Materias annuli signantes: Materias sacras PTFE3 et PTFE4; aliae materiae ad libitum includuntur PTFE1, PTFE2, et PTFE5.
Ruichen inquisitionem et evolutionem et productionem independens ab initio materiarum rudium effecit, moderamen totius rei productae animadvertens.
1. Plasticas machinales et materias compositas: nucleum polytetrafluoroethylene (PTFE) accipimus, a mixtione, sintering ad fingam, independentem productionem omnium generum materiarum compositarum tubo et virga repletarum, ac deinde subtilitatem processus in sigilla. Hoc firmitatem et customizabilitatem proprietatum materialium praestat.
2. Polyurethane elastomer summus perficientur: Incipimus a prepolymer fusura, independenter producere organum polyurethanum et materias virgae altae, easque in varias figuras sigillorum procedere, quae indumento resistentiae, pressionis resistentiae et resistentiae hydrolysi praestantes sunt.
Exemplum ordinans
Exemplar RC2054-80×69×4.2-PTFE3-R01 Model-D*d*L- Material Code Ordering Model RCX18-80×69x4.2-HPU Model-D*d*L- Material Code
Specificationes et parametri mensae (quaelibet specificatio intra ambitum range praesto est)
|
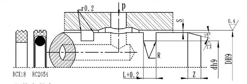
Apertura range DH9 |
Fossa diametri dh9 |
Fossa latitudo L+0.2 |
Radialis alvi Smax |
Anguli rotundae Rmax |
Chamfer Zmin |
|
|
0~10Mpa |
10~20Mpa |
|||||
|
8~39 |
D-4.9 |
2.2 |
0.15 |
0.1 |
0.4 |
2 |
|
40~79 |
D-7.5 |
3.2 |
0.2 |
0.15 |
0.6 |
3 |
|
80~132 |
D-11.0 |
4.2 |
0.25 |
0.2 |
1.0 |
4 |
|
133~329 |
D-15.5 |
6.3 |
0.3 |
0.25 |
1.3 |
5 |
|
330~669 |
D-21.0 |
8.1 |
0.3 |
0.25 |
1.8 |
7 |
|
670 ~ 1500 |
D-28.0 |
9.5 |
0.45 |
0.3 |
2.0 |
8 |
|
D |
d |
L |
D |
d |
L |
D |
d |
L |
D |
d |
L |
|
8 |
3.1 |
2.2 |
50 |
42.5 |
3.2 |
170 |
154.5 |
6.3 |
380 |
359.0 |
8.1 |
|
10 |
5.1 |
2.2 |
55 |
47.5 |
3.2 |
180 |
164.5 |
6.3 |
390 |
369.0 |
8.1 |
|
12 |
7.1 |
2.2 |
60 |
52.5 |
3.2 |
190 |
174.5 |
6.3 |
400 |
379.0 |
8.1 |
|
14 |
9.1 |
2.2 |
63 |
55.5 |
3.2 |
200 |
184.5 |
6.3 |
420 |
399.0 |
8.1 |
|
15 |
10.1 |
2.2 |
65 |
57.5 |
3.2 |
210 |
194.5 |
6.3 |
450 |
429.0 |
8.1 |
|
16 |
11.1 |
2.2 |
70 |
62.5 |
3.2 |
220 |
204.5 |
6.3 |
480 |
459.0 |
8.1 |
|
18 |
13.1 |
2.2 |
75 |
67.5 |
3.2 |
230 |
214.5 |
6.3 |
500 |
479.0 |
8.1 |
|
20 |
15.1 |
2.2 |
80 |
69.0 |
4.2 |
240 |
224.5 |
6.3 |
520 |
499.0 |
8.1 |
|
22 |
17.1 |
2.2 |
85 |
74.0 |
4.2 |
250 |
234.5 |
6.3 |
550 |
529.0 |
8.1 |
|
24 |
19.1 |
2.2 |
90 |
79.0 |
4.2 |
260 |
244.5 |
6.3 |
600 |
579.0 |
8.1 |
|
25 |
20.1 |
2.2 |
95 |
84.0 |
4.2 |
270 |
254.5 |
6.3 |
630 |
609.0 |
8.1 |
|
28 |
23.1 |
2.2 |
100 |
89.0 |
4.2 |
280 |
264.5 |
6.3 |
650 |
629.0 |
8.1 |
|
30 |
25.1 |
2.2 |
105 |
94.0 |
4.2 |
290 |
274.5 |
6.3 |
670 |
642.0 |
9.5 |
|
32 |
27.1 |
2.2 |
110 |
99.0 |
4.2 |
300 |
284.5 |
6.3 |
700 |
672.0 |
9.5 |
|
35 |
30.1 |
2.2 |
115 |
104.0 |
4.2 |
310 |
294.5 |
6.3 |
750 |
722.0 |
9.5 |
|
36 |
31.1 |
2.2 |
120 |
109.0 |
4.2 |
320 |
304.5 |
6.3 |
800 |
772.0 |
9.5 |
|
38 |
33.1 |
2.2 |
125 |
114.0 |
4.2 |
330 |
309.0 |
8.1 |
1000 |
972.0 |
9.5 |
|
40 |
32.5 |
3.2 |
130 |
119.0 |
4.2 |
340 |
319.0 |
8.1 |
|
|
|
|
42 |
34.5 |
3.2 |
140 |
124.5 |
6.3 |
350 |
329.0 |
8.1 |
|
|
|
|
45 |
37.5 |
3.2 |
150 |
134.5 |
6.3 |
360 |
339.0 |
8.1 |
|
|
|
|
48 |
40.5 |
3.2 |
160 |
144.5 |
6.3 |
370 |
349.0 |
8.1 |
|
|
|
Nota: Specificationes requisitae hic non enumerantur; placere contactus nostra societas. Offerimus producta cum diametro maximo 2800mm.



Oratio
No.1 Ruichen via, Dongliuting Industrial Park, Chengyang Districtus, Qingdao urbs, Shandong Provincia, China
Tel