|
Pressura / MPa |
Temperature / °C |
Celeritas / m/s |
Medium |
|
≤40 |
-35~+100 (cum NBR O-annulo) |
≤2 |
Oleum hydraulicum, emulsio, aqua, gas, etc. |
|
-20~+200 (cum FKM O-annulo) |
1. Praesto materiae O-anuli: R01 Nitrile Butadiene Flexilis (NBR), R02 Fluororubber (FKM), etc.
2. Materias annuli signantes: Materias sacras PTFE3 et PTFE4; aliae materiae ad libitum includuntur PTFE1, PTFE2, et PTFE5.
Exemplum ordinans
Exemplar RC2052-80x91×4.2-PTFE3-R01 Model-dxDxL- Material Code
Model dxDxL- Material Code
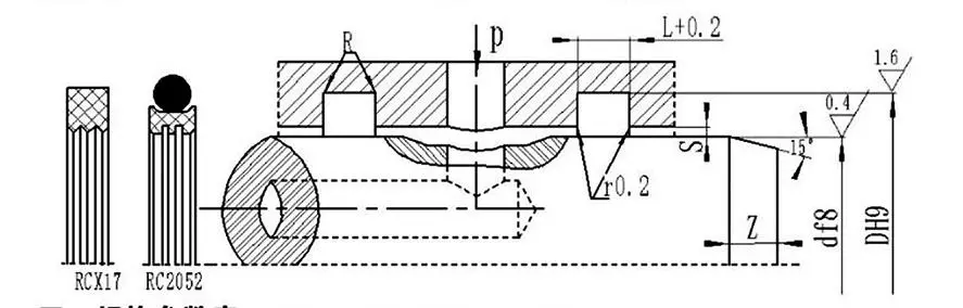
Specificationes et parametri mensae (quaelibet specificatio intra ambitum range praesto est)
|
Spiculum diameter range d f8 |
Fossa diametri DH9 |
Fossa latitudo L+⁰.2 |
Radialis alvi Smax |
Anguli rotundae Rmax |
Chamfer Zmin |
|
|
0~10Mpa |
10~20Mpa |
|||||
|
6~18 |
d+49 |
2.2 |
0.15 |
0.1 |
0.4 |
2 |
|
19~37 |
d+7.5 |
3.2 |
0.2 |
0.15 |
0.6 |
3 |
|
38~ 199 |
d+11.0 |
4.2 |
0.25 |
0.2 |
1.0 |
4 |
|
200~ 255 |
d+15.5 |
6.3 |
0.3 |
0.25 |
1.3 |
5 |
|
256~649 |
d+21.0 |
8.1 |
0.3 |
0.25 |
1.8 |
7 |
|
650~150 |
d+28.0 |
9.5 |
0.45 |
0.3 |
2.0 |
8 |
Nota: Pro scapus diametri ≤ 30mm, sulci apertae commendantur.
|
d |
D |
L |
d |
D |
L |
d |
D |
L |
d |
D |
L |
|
8 |
12.9 |
2.2 |
48 |
59.0 |
4.2 |
150 |
161.0 |
4.2 |
350 |
371.0 |
8.1 |
|
10 |
14.9 |
2.2 |
50 |
61.0 |
4.2 |
160 |
171.0 |
4.2 |
360 |
381.0 |
8.1 |
|
12 |
16.9 |
2.2 |
55 |
66.0 |
4.2 |
170 |
181.0 |
4.2 |
370 |
391.0 |
8.1 |
|
14 |
18.9 |
2.2 |
60 |
71.0 |
4.2 |
180 |
191.0 |
4.2 |
380 |
401.0 |
8.1 |
|
15 |
19.9 |
2.2 |
63 |
74.0 |
4.2 |
190 |
201.0 |
4.2 |
390 |
411.0 |
8.1 |
|
16 |
20.9 |
2.2 |
65 |
76.0 |
4.2 |
200 |
215.5 |
6.3 |
400 |
421.0 |
8.1 |
|
18 |
22.9 |
2.2 |
70 |
81.0 |
4.2 |
210 |
225.5 |
6.3 |
420 |
441.0 |
8.1 |
|
20 |
27.5 |
3.2 |
75 |
86.0 |
4.2 |
220 |
235.5 |
6.3 |
450 |
471.0 |
8.1 |
|
22 |
29.5 |
3.2 |
80 |
91.0 |
4.2 |
230 |
245.5 |
6.3 |
480 |
501.0 |
8.1 |
|
24 |
31.5 |
3.2 |
85 |
96.0 |
4.2 |
240 |
255.5 |
6.3 |
500 |
521.0 |
8.1 |
|
25 |
32.5 |
3.2 |
90 |
101.0 |
4.2 |
250 |
265.5 |
6.3 |
520 |
541.0 |
8.1 |
|
28 |
35.5 |
3.2 |
95 |
106.0 |
4.2 |
260 |
281.0 |
8.1 |
550 |
571.0 |
8.1 |
|
30 |
37.5 |
3.2 |
100 |
111.0 |
4.2 |
270 |
291.0 |
8.1 |
600 |
621.0 |
8.1 |
|
32 |
39.5 |
3.2 |
105 |
116.0 |
4.2 |
280 |
301.0 |
8.1 |
630 |
651.0 |
8.1 |
|
35 |
42.5 |
3.2 |
110 |
121.0 |
4.2 |
290 |
311.0 |
8.1 |
650 |
678.0 |
8.1 |
|
36 |
43.5 |
3.2 |
115 |
126.0 |
4.2 |
300 |
321.0 |
8.1 |
670 |
698.0 |
9.5 |
|
38 |
49.0 |
4.2 |
120 |
131.0 |
4.2 |
310 |
331.0 |
8.1 |
700 |
728.0 |
9.5 |
|
40 |
51.0 |
4.2 |
125 |
136.0 |
4.2 |
320 |
341.0 |
8.1 |
750 |
778.0 |
9.5 |
|
42 |
53.0 |
4.2 |
130 |
141.0 |
4.2 |
330 |
351.0 |
8.1 |
800 |
828.0 |
9.5 |
|
45 |
56.0 |
4.2 |
140 |
151.0 |
4.2 |
340 |
361.0 |
8.1 |
1000 |
1028.0 |
9.5 |
Nota: Specificationes requisitae hic non enumerantur; placere contactus nostra societas. Offerimus producta cum diametro maximo 2800mm.





Omnia per institutionem ac instructiones
Rui Chen scit primam rectam institutionem esse praerequisitam ut plenam sigillorum observantiam, etiam tibi ducatum comprehensivum dabimus in usu cuiusque producti, praesertim partium consuetudinum non-complexarum vel non normarum, in graphice institutionem delineandam ducemus.
Hi duces comitantur altae definitionis gradatim schematis et textuum instructionum quae clare ostendunt puncta inspectionis ante institutionem, vestigia rectam institutionem, instrumenta requisita et operationes iniuriae quae vitandae sunt, quasi fabrum nostrum in situ. Praeterea, pro complexis conventibus vel systematibus, video tutoriales professionales creamus, qui operatores tuos intuitive ac velociter magistros artis institutionis ac cautiones per demonstrationes dynamicas permittunt, periculum primorum defectuum valde minuendo propter impropriam institutionem.
Oratio
No.1 Ruichen via, Dongliuting Industrial Park, Chengyang Districtus, Qingdao urbs, Shandong Provincia, China
Tel