Hydraulicorum pulveris signacula est unus ex signis products quod Ruichen signacula potest producendum. Vos can discere de diversis exempla in hoc genus productum et potest etiam facere structural junctiones. Si necesse, vos can quoque contact us auxilium vel customized solutions, aut contactus nos ad consequi sample libri.
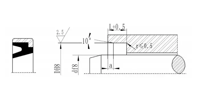
RCF01 et RCF02 sunt duo-modo pulveris sigillis composito ex duplici-labrum pulvis sigillum anulus repleti anti-gerunt Ptfe materia et o-informibus Flexilis anulum. In O-anulum providet preload vis ad compensare ad gere de Ptfe anulum. RCF01 est idoneam ad gravibus, officium occasiones, ut pulveris et frigus ambitus et altus-frequency reciprocating motus. Split striatus adhiberi potest ad shaft diametri minus quam 30mm. RCF02 apta reciprocating motus, adductius et spiralis motus conditionibus.
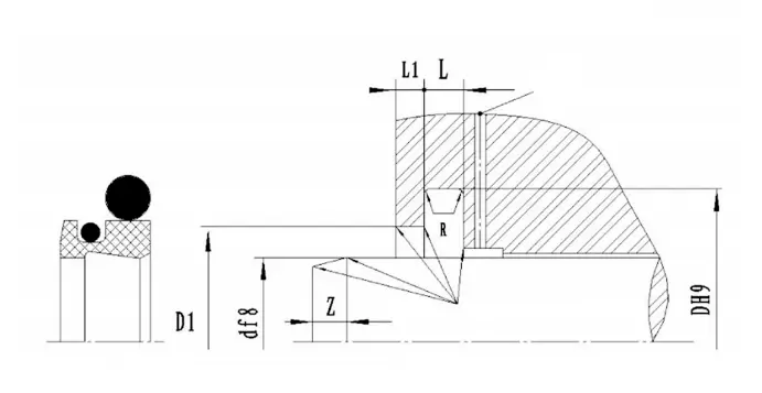
RCF03 est unum, modo pulvis anulum composito ex una-labrum pulvis radium circulum repleti Ptfe materia et o-informibus Flexilis anulum. Functionem ad radare pulverem ne ratio a contaminari. Est idoneam ad reciproco motus, inclinata aut spiralis motus conditionibus.
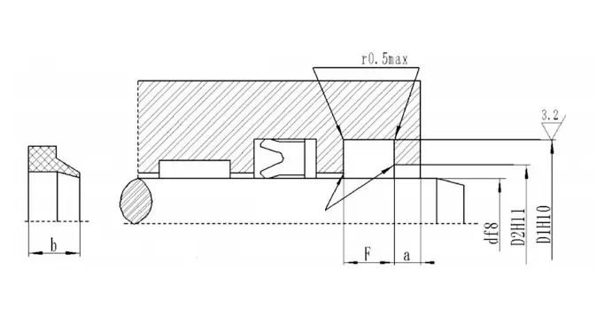
RCF04 and RCF05 are double-lip dust rings composed of a special-shaped ring with a sealing lip and a dustproof lip and two O-rings as preload elements, which are used to improve the overall sealing. Habet characteres longa vita, humilis frictio, non viscositas, et princeps reliability. RCF04 est maxime in agriculturae machinatione, Hydrau premit, iniectio CUMATIUM machinarum, Hydraulicarum imperium systems, forklifts, volvens machinis, grues, et loading et unloading machinatione. RCF05 est maxime in Hydrau premit, iniectio CUMATIUM velit, volvens machinis, Metallurgical machina, etc est maxime idoneam dustproof signacula magna diametro Piston virgas.
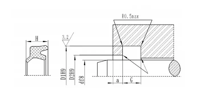
DHS pulvis anulus est dual-munus pulvis anulum, quod habet tam bonum dustproof effectus et quidam signantes oleum film munus. Et materiae sunt altus-perficientur polyurethane, Nitrile Flexilis et fluororubber.
J-informibus et ja-informibus sunt ad reciproco hydrau cylindrici piston virgas aut valvae caulibus ad radi pulveris. Et materiae sunt Polyurethane (TPU / CPU) et Flexilis. Et striatus et productum dimensiones et tolerances propinquos meos in J. / T6657-93 et JB / T6656-93.
Pulvis anulum GSM adhibetur ne externa pollutants a miscentes in hydrau system et signantes ratio, et non revertetur ad hydraulico oleum ad lubricatae system sine stillante ad extra, quod est effectus auxiliarii signare. Et materiae sunt Nitrile Flexilis, fluororubber et polyurethane.
GP1 et GP6 pulveris annulos sunt ne pollutants a miscentes in Hydrau system et signantes ratio. In materia Nitrile Flexilis NBR et fluororubber FKM est electus ad caliditas. GP6 est maxime propter dustproof signantes magna diametrum piston virgas.
AF Typus pulvis anulus est ad ne pulvis, lutum, harenae et metallum eu ab intrantes hydraulica cylindri. Reducere periculo scalpit per externa contaminants embedded in illapsum elementa. Optimum dustproof effectum potest effectum per specialem consilio de dustproof circulum labrum. In circulum habet proprietates fortis gerunt resistentia, parva permanens deformatio et resistentia ad externum mechanica labefactum. In dustproof anulus potest firmiter installed in opportunitate situ de axial aperto sulcus per usura intercessiones fit inter exterior diameter signantes sulcus et metallum. Apta rubor ita labium altus tutela contra damnum ex causis externis. Ex engineering perspective, in af genus dustproof anulum est idoneam cylindrum caput signantes fabrica.
Product Features et Applications:
Ordinatione exemplum:
Ordinis Model RCF01-80, Ptfe3-R01
RCF01-Model LXXX-Shaft Diameter Ptfe3-Generalis modified Ptfe R01-matching Flexilis Material Code
Nitrile Flexilis (NBR) - R01 Fluorubber (FKM) -R02
Ordinis Model RCF02-80, Ptfe3-R01
RCF02-Model LXXX-Shaft Diameter Ptfe3-Universal Modified Ptfe R01, matching Flexilis Material Code
Nitrile Flexilis (NBR) - R01 Fluorubber (FKM) -R02
Ordinis Model RCF03-80, Ptfe3-R01
RCF03-Model LXXX-Shaft Diameter Ptfe3-Universal Modified Ptfe R01, matching Flexilis Material Code
Nitrile Flexilis (NBR) - R01 Fluorubber (FKM) -R02
Ordinis Model RCF04-80, Ptfe3-R01
RCF04-Model LXXX-Shaft Diameter Ptfe3-Universal Modified Ptfe R01-matching Flexilis Material Code
Nitile Flexilis (NBR) -R01 Fluorubber (FKM) -R02
Ordinis Model RCF05-80, Ptfe3-R01
RCF05-Model LXXX-Shaft Diameter Ptfe3-Generalis mutatio PTFE Ro1-matching Flexilis Material Code
Nitile Flexilis (NBR) -R01 Fluorubber (FKM) -R02
Ordinis Model: DHS-CXXX * CXLIII * VIII / 9,5-R01 D1 * G / h
J-genus pulvis sigillum
La type pulvis sigillum
GSM
Et pulvis Sign GSM alibi cum ordine numerus, exempli gratia: GSM4048 XL-Hacker Diameter D XLVIII-sulcus imo diameter D
GP1
Supra exemplum: GP1-70 * LXXXII * IV / VIII Model-D * D * l / h
GP6
Marking modum: GP6-70 * 80,6 * 5.3 / VII Model-D * D * l / h
Ex
DKB
Cubits
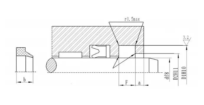
Rcf01| Palus diameter range d F8 |
Sulcus diameter D H9 |
Sulcus width L+.2 |
Aperta foraminis diameter D1H11 | Aperta foraminis width A≥ |
Rotunda R≤ |
O-Orbis filum diameter dO |
| XIX ~ XXXIX | D + 7.6 | 4.2 | D + 1.5 | 3 | 0.8 | 2.65 |
| XL ~ LXIX | D + 8,8 | 6.3 | D + 1.5 | 3 | 0.8 | 2.65 |
| LXX * CXXXIX | D + 12,2 | 8.1 | D + 2.0 | 4 | 0.8 | 3.55 |
| CXL ~ CCCXCIX | d 16,0 + | 9.5 | D + 2.5 | 5 | 1.5 | 5.30 |
| CD ~ DCXLIX | d 24.0 + | 14.0 | D + 2.5 | 8 | 1.5 | 7.00 |
| DCL ~ MD | D + 27.3 | 16.0 | D + 2.5 | 10 | 2.0 | 8.60 |
| Palus diameter range d F8 |
Sulcus diameter D H9 |
Sulcus width L+.2 |
Aperta foraminis diameter D1H11 | Aperta foraminis width A≥ |
Rotunda R≤ |
O-Orbis filum diameter dO |
| IV ~ XI | D + 4.8 | 3.7 | D + 1.5 | 2 | 0.4 | 1.80 |
| XII ~ LXIV | D + 6.8 | 5.0 | D + 1.5 | 2 | 0.7 | 2.65 |
| LXV ~ CCL | D + 8,8 | 6.0 | D + 1.5 | 3 | 1.0 | 3.55 |
| CCLI ~ CDXX | D + 12,2 | 8.4 | D + 2.0 | 4 | 1.5 | 5.30 |
| CDXXI ~ DCL | d 16,0 + | 11.0 | D + 2.0 | 4 | 1.5 | 7.00 |
| DCLI ~ MD | D + 20.0 | 14.0 | D + 2.5 | 5 | 2.0 | 8.60 |
| Palus diameter range d F8 |
Sulcus diameter DH9 |
PRAESENTARIUS D1 H11 |
Sulcus width L+.2 |
Altiore width L1 |
Rotunda Rmax |
LONGE Zmin |
| XX ~ 39.9 | D + 7.6 | D + I | 4.2 | 8.2 | 0.4 | 3 |
| XL ~ 69.9 | D + 8,8 | D + 1.5 | 6.3 | 10.3 | 1.2 | 4 |
| LXX ~ 139.9 | D + 12,2 | D + 2.0 | 8.1 | 12.1 | 2 | 6 |
| CXL ~ 399.9 | d 16,0 + | D + 2.0 | 11.5 | 15.5 | 2 | 8 |
| CD ~ 649,9 | d 24.0 + | D + 2.5 | 15.5 | 19.5 | 2 | 10 |
| DCL ~ M | D + 27.3 | D + 2.5 | 18.0 | 23.0 | 2 | 12 |
| Palus diameter range d F8 |
Sulcus diameter DH9 |
PRAESENTARIUS D1 H11 |
Sulcus width L+.2 |
Latus width L1 |
Rotunda Rmax |
LONGE Zmin |
| C ~ CCXXIX | D + 22.2 | D + 10,7 | 6.3 | 4.2 | 1.2 | 6 |
| CCXCIX CCXXXIX | d 24.2 + | D + 10,7 | 6.3 | 4.2 | 1.2 | 8 |
| CCC ~ DCXXIX | D + 33.0 | D + 15,1 | 8.1 | 6.3 | 1.2 | 10 |
| DCXXX ~ M | D + 36.5 | D + 15,1 | 9.5 | 6.3 | 2 | 12 |
| Uber numerus | d | D1 | H | G+.3 | D2 | a |
| DHS XII | 12 | 20 | 6 | 5 | 16.3 | 2 |
| DHS XIV | 14 | 22 | 6 | 5 | 18.3 | 2 |
| DHS XVI | 16 | 24 | 6 | 5 | 20.3 | 2 |
| DHS XVIII | 18 | 26 | 6 | 5 | 22.3 | 2 |
| DHS XX | 20 | 28 | 6 | 5 | 24.3 | 2 |
| DHS XXII | 22 | 30 | 6 | 5 | 26.3 | 2 |
| DHS XXV | 25 | 33 | 6 | 5 | 29.3 | 2 |
| DHS XXVIII | 28 | 36 | 6 | 5 | 32.3 | 2 |
| DHS XXX | 30 | 38 | 6.5 | 6 | 34 | 2 |
| DHS XXXII | 32 | 40 | 6.5 | 6 | 36 | 2 |
| DHS XXXV | 35 | 43 | 6.5 | 6 | 39 | 2 |
| DHS XXXVIII | 38 | 46 | 6.5 | 6 | 42 | 2 |
| DHS XL | 40 | 48 | 6.5 | 6 | 44 | 2 |
| DHS XLV | 45 | 53 | 6.5 | 6 | 49 | 2 |
| DHS XLVIII | 48 | 56 | 6.5 | 6 | 52 | 2 |
| DHS L | 50 | 58 | 6.5 | 6 | 54 | 2 |
| DHS LV | 55 | 63 | 6.5 | 6 | 59 | 2 |
| DHS LVI | 56 | 64 | 6.5 | 6 | 60 | 2 |



























































Oratio
No.1 Ruichen via, Dongliuting Industrial Park, Chengyang Districtus, Qingdao urbs, Shandong Provincia, China
Tel