Qingdao Ruichen Obsignans Technology Co, Ltd.
Qingdao Ruichen Obsignans Technology Co, Ltd.
Productus
X

Labyrinthus-Type Compositum Sigillum pro Gyratorio Shafts

Labyrinthus-Typus Compositum Sigillum pro Rotaria Shafts productum est ex Sigillis Ruichen. Constat anulum signaculum dentatum cum materia PTFE et O anulo repletum. Apta est unidirectionali signationi motuum hydraulicorum et pneumaticorum reciproci et gyratorii. Eius vita longam servitutem, humilem frictionem, bonum obsignationis observantiam et parvae structurae spatium notat ac etiam ad signationem hydraulicam adhiberi potest.

Ruichen manufacturarum Labyrinthum-Typus Compositum Sigillum pro gyratoriis emissiones, in RC2051-B (typum vexillum) et in RC2051-G (typum altum velocitatis). Unicum labrum RC2051 propositum praebet praestantiam obsignationem observantiam et repugnantiam valde humilem frictionalem, etiam cum usus est ad reciprocum reciprocum vel gyratorium obsignandum.

 

Lorem operating conditionibus

Pressura / MPa

Temperature / °C

Reference Pv value /Mpa.m/s

Reference celeritas / m / s *

Medium

≤70 (Latin Model)

-35~+100 (NBR O-anulus)

≤10

2

Oleum hydraulicum, emulsio, aqua, gas, etc.

≤30 (Model-Speed ​​Model)

-20~+200 (O-annulum FKM)

6

Materia lectio

1. Praesto materiae O-anuli: R01 Nitrile Butadiene Flexilis (NBR), R02 Fluororubber (FKM), etc.

2. Materia anuli signandi: Materia sacra PTFE4, aliae materiae ad libitum includuntur PTFE1, PTFE2, PTFE3, et PTFE5.

 

Quid eligunt Ruichen?

Ruichen non solum te productis praebere potest, sed etiam plenariam professionis subsidium e rebus ad technologiam pertinentibus. Lorem consilium delectu, defectus analysis et technica Q & A Haec sunt quae tibi providere possumus. Si occurrant problemata obsignandi, cito facultates technicas componemus ut adiuvet te radicem deficiendi per analysin metallographicam, analysim spectram et alia media collocare. Et auxilium nostrum non ibi cessabit, sed etiam programmata efficacia tibi propone.

 

Exemplum ordinans

Ordering Model: RC2051-80x91.7x7.6-PTFE3-R01

Exemplar: dxDxL-

Materia Codicis:

 

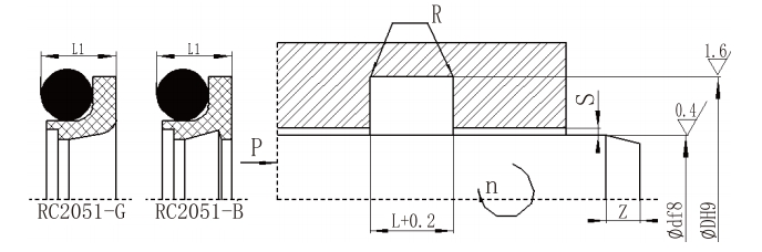
Figurae structuralis

Specificationes et parametri mensae (quaelibet specificatio intra ambitum range praesto est)

d f8

Latin type

RC2051

d f8

Onus leve genus RC2051-Q

d f8

Gravis genus

RC2051-Z

 

DH9

 

L+⁰.2

 

LI

 

Rmax

Sm

 

Znin

 

do

<10MPa

<20MPa

<40MPa

.

5~15.9

--

d+4.5

3.1

2.8

0.3

0.3

0.2

0.15

3

1.8

5~15.9

16~38.9

---

d+6.3

4.0

3.7

0.4

0.4

0.25

0.15

4

2.65

16~38.9

39~ 107.9

5~15.9

d+8.2

5.2

4.7

0.4

0.4

0.25

0.2

5

3.55

39~ 107.9

108~ 670.9

16~38.9

d+11.7

7.6

7.1

0.5

0.5

0.3

0.2

7

5.30

108~ 670.9

671~999

39~ 107.9

d+15.5

9.6

8.9

0.6

0.6

0.35

0.25

10

7.00

671~999

1000-1599

108~ 670.9

d+19.4

12.1

11.3

0.7

0.7

0.5

0.3

12

8.60

1000-1599

≥1600

671~999

d+22

14.8

13.5

0.8

0.8

0.6

0.4

15

10.0

≥1600

-

1000-1599

d+26

17.8

16.3

1.0

1.0

0.7

0.6

20

12.0

Nota: 1. Pro scapus diametri ≤ 30mm, sulci apertae commendantur.

2. Duritia superficiei scapi rotationis esse debet HRC > 58 .

 

Hot Tags: Labyrinthus-Type Compositum Sigillum pro Gyratorio Shafts
Mitte Inquisitionem
Contactus info
Get competitive prices, technica firmamentum et ieiunium respondeo. Mitte specifications ad Ruichen pro tailored Signing Solutions. Free exempla available.
X
Crusulis utimur ut meliorem experientiam pasco tibi praebeamus, situm negotiationis et personalize contentus analyse. Hoc situ utendo, ad nostrum crustulorum usum consentis. Privacy Policy
Reject Accipe